TEB23C

TEB23C
TEB23C

直線運動單元, ELECTRIC BRAKE NEMA 23


  • 停產
  • Mounts to support end of 2HB, 2RB, and 2DB units.
  • 停產
  • 停產

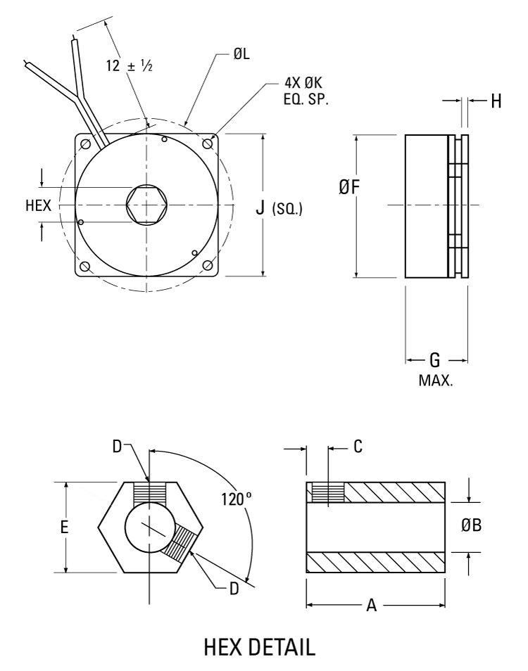
Dimensions

dimensions
尺寸價值
[A]1.67 英寸
[B]0.375 英寸
[C]0.44 英寸
[D]#10-32 
[E]0.625 英寸
[F]2.25 英寸
[G]1.1 英寸
[H]0.11 英寸
[J]2.25 英寸
[K]0.22 英寸
[L]2.625 英寸

Specifications

Specifications價值
Voltage24 Vdc 

Get Quote

*Please fill out the information below so we can best assist you: